En bivouac, chaque gramme et chaque centimètre cube comptent. Que ce soit pour une traversée des Alpes ou une micro-aventure en forêt, l’équipement doit allier légèreté, compacité, durabilité et polyvalence sans sacrifier le confort ou l’efficacité. Pourtant, les solutions existantes imposent souvent des compromis : poids excessif, encombrement, fragilité ou manque de fonctionnalité.
C’est là que les innovations récentes, protégées par des brevets révolutionnaires, changent la donne. Des brosses à dents modulables aux réchauds à bois pliants, en passant par des thermomètres miniatures ou des sacs de conservation zéro déchet, ces produits redéfinissent les standards du matériel de voyage. Ils répondent à un impératif commun : faire plus avec moins, pour des aventuriers qui refusent de transiger sur la performance ou le confort.
Dans cet article, nous explorons cinq innovations majeures qui transforment l’expérience du bikepacking et du camping minimaliste :
- La brosse à dents ultralégère (2 g) de Vargo : Un système modulaire qui se fixe sur n’importe quel manche perforé (cuillère, spork), pour une hygiène optimale sans poids superflu.
- Le réchaud à bois Hexagon en titane : 116 g pour une cuisson efficace et stable, même par vent fort, avec une structure pliable et une alimentation en combustible optimisée.
- Le thermomètre ThermoDrop : Quelques grammes pour mesurer la température dans votre tente et ajuster votre équipement en conséquence.
- Les sacs Stasher en silicone : Zéro déchet, 100 % étanches et réutilisables, compatibles lave-vaisselle, micro-ondes et congélateur.
- Le système de cuisson MSR Reactor : Le plus rapide et économique en carburant, avec une protection inégalée contre le vent et une efficacité maximale, même en conditions extrêmes.
Ces innovations répondent aux trois défis majeurs des aventuriers modernes:
- Minimalisme : Réduire le poids et l’encombrement sans sacrifier l’essentiel.
- Polyvalence : Un équipement qui s’adapte à toutes les situations (climat, terrain, durée du voyage).
- Durabilité : Des matériaux et des designs conçus pour résister aux conditions les plus rudes.
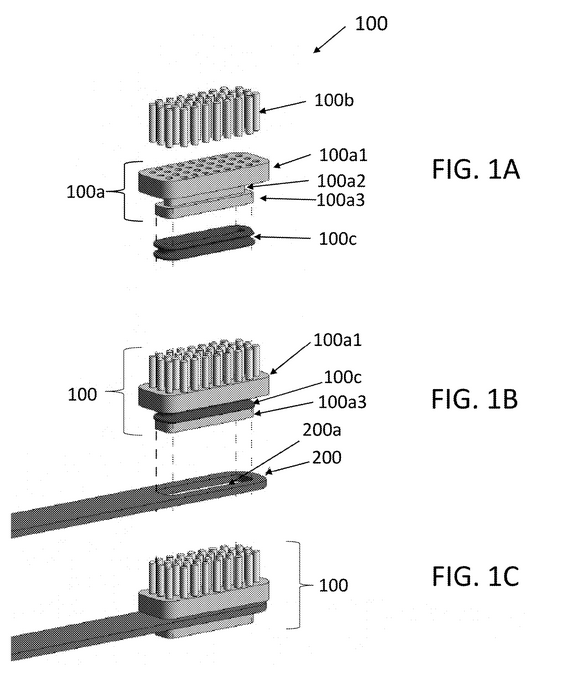
Brosse à dent ultralégere (2gr)
Brevet: US20240260736
Demandeur: VARGO ANDREW
Titre: ATTACHABLE AND DETACHABLE TOOTHBRUSH HEAD ASSEBLY
Contexte et problématique
- Encombrement et poids : Les brosses à dents classiques alourdissent les sacs.
- Hygiène : Les manches sales (mains, terre) contaminent la brosse.
- Manque de polyvalence : Les brosses à dents de voyage existantes nécessitent un manche dédié.
Innovations clés
- Système d’attache universel :
- Tête modulaire (100a1) avec gorge de fixation (100a2) et joint élastique (100c).
- Compatibilité avec tout manche plat (200) doté d’un trou (200a) (ex. : cuillères de camping, sporks, outils multifonctions).
- Fixation rapide : Le joint (100c) se comprime dans le trou (200a) et les nervures bloquent la tête en place.
- Léger et compact :
- Poids minimal (2 gr) et rangement facile (se glisse dans une poche).
- Nettoyage simplifié : Détachable pour un lavage ou une désinfection aisée.
- Matériaux durables :
- Corps rigide (métal, bois, plastique dur) pour la tête (100a).
- Joint souple (caoutchouc, plastique, liège) pour une fixation sécurisée et réutilisable.
- Utilisation intuitive :
- Montage/démontage en 2 secondes : Insérer la plaque de maintien (100a3) dans le trou (200a), puis enclencher le joint (100c).
- Distance hygiénique : Le manche allongé (ex. : cuillère de 20-25 cm) évite le contact des mains sales avec la bouche.
Avantages clés
✅ Ultra-léger et portable : Idéal pour les sacs à dos ou les kits de voyage minimalistes.
✅ Universel : Compatible avec les ustensiles de camping existants (pas besoin d’acheter un manche dédié).
✅ Hygiénique : Évite la contamination croisée entre les mains et la brosse.
✅ Économique et écologique : Réutilisable, évite le gaspillage de brosses à dents jetables.
✅ Robuste : Conçu pour résister aux conditions extrêmes (randonnée, trek, expéditions).
Dessins


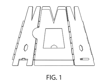
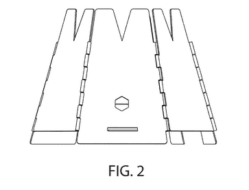
Réchaud à bois
Brevet: USD1104593S
Titre: Portable collapsible polygonal stove assembly with loading and ventilation apertures
Demandeur: VARGO BRIAN
Innovations clés du brevet
Ce brevet protège un réchaud à bois ultra-léger et pliant, conçu pour les aventuriers, randonneurs et bikepackers, avec les caractéristiques révolutionnaires suivantes :
- Structure hexagonale pliable :
- 6 panneaux articulés qui s’emboîtent pour un montage/démontage en quelques secondes.
- Forme conique (pyramidale) pour focaliser la chaleur vers le haut, améliorant l’efficacité de la combustion et réduisant la consommation de bois.
- Stabilité optimale : La base large et la forme pyramidale empêchent les basculements, même avec des casseroles de 1 à 1,5 L.
- Matériau et légèreté :
- Titane : Léger (116 g) mais ultra-résistant (ne rouille pas, supporte les hautes températures).
- Compact : Se plie à plat pour un rangement minimal dans un sac à dos ou une sacoche de vélo.
- Système d’alimentation en combustible innovant :
- Panneaux latéraux articulés : Permettent d’ajouter du bois pendant la combustion sans éteindre le feu.
- Plateforme interne surélevée et perforée (19 trous) :
- Aération optimale pour une combustion complète et moins de fumée.
- Répartition homogène de la chaleur pour une cuisson efficace.
- Polyvalence et efficacité :
- Cuisson pour 1 à 2 personnes : Idéal pour les repas simples (eau, soupes, pâtes).
- Compatibilité : Adapté aux casseroles légères (≤ 1,5 L) utilisées en randonnée.
- Autonomie : Fonctionne avec des branches, pommes de pin ou pastilles de combustible, disponibles en nature.
- Durabilité et entretien :
- Résistance à la corrosion (titane) et aux chocs thermiques.
- Nettoyage facile : La structure perforée évite l’accumulation de cendres.
Avantages clés
✅ Ultra-léger et compact : 116 g seulement et pliable à plat pour un transport discret (idéal pour le bikepacking ou la randonnée).
✅ Efficacité énergétique : Combustion optimisée grâce à la forme conique et à l’aération perforée (moins de bois nécessaire). Chaleur concentrée vers la casserole pour une cuisson rapide.
✅ Stabilité et sécurité : Base large et forme pyramidale pour éviter les renversements. Alimentation en bois sans interruption grâce aux panneaux articulés.
✅ Polyvalence : Utilisable avec tous types de combustibles naturels (bois, écorces, pastilles). Adapté aux petits groupes (1-2 personnes) et aux repas de trek (eau chaude, lyophilisés).
✅ Durabilité : Conçu pour les conditions hostiles (montagne, forêt, désert). Titane indestructible : Résiste à la rouille, aux chocs et aux températures extrêmes.




Thermomètre ultra-léger pour campeurs
Innovation clé :
- Miniaturisation et robustesse : Thermomètre numérique ultra-léger (quelques grammes), étanche, avec rétroéclairage et batteries remplaçables, conçu pour mesurer précisément la température à l’intérieur d’une tente ou d’un abri.
- Pourquoi c’est innovant ? Aucun thermomètre existant ne combine taille mini, étanchéité, légèreté et simplicité pour un usage dédié au camping. Parfait pour les aventuriers qui veulent optimiser leur confort thermique.
Avantages clés
✅ Léger et compact : Idéal pour le bikepacking (ne pèse rien).
✅ Résistant : Étanche et conçu pour les conditions extérieures.
✅ Pratique : Rétroéclairage pour une lecture nocturne, batteries standard (remplaçables).
✅ Utile : Permet d’évaluer l’efficacité de son équipement (duvet, tente) et d’adapter sa stratégie de couchage.
Brevet: USD945284S
Titre: Keychain-sized thermometer
Demandeur: THERMOWORKS INC


ThermoDrop de ThermoWorks est un petit thermomètre numérique de 25€ qui vous permet d’enregistrer la température réelle au camp – à l’intérieur de votre tente. Il est résistant à l’eau, rétroéclairé, utilise des batteries remplaçables et ne pèse que quelques grammes. C’est une façon satisfaisante de confirmer à quel point la nuit était froide et comment votre duvet a fonctionné.

Sacs en silicone réutilisables pour une conservation alimentaire saine et zéro déchet
Brevet: USD1084846S
Titre: Container
Demandeur: STASHER INC
Innovation clé :
- Premiers sacs 100 % silicone platine (sans plastique, BPA, PVC ou latex) auto-scellants et entièrement fonctionnels :
- Joint hermétique Pinch-Loc pour une étanchéité parfaite (conservation sous vide, marinades, transport sans fuites).
- Matériau inerte et non toxique : Résiste aux températures extrêmes (-40°C à +204°C) et compatible lave-vaisselle, micro-ondes, congélateur et four.
- Pourquoi c’est révolutionnaire ?
- Une alternative saine, durable et ultra-polyvalente aux sacs plastique ou aux boîtes encombrantes
- Idéale pour les campeurs, randonneurs et voyageurs soucieux de leur empreinte écologique et de la fraîcheur de leurs aliments.
Avantages clés :
✅ Zéro déchet et écologique : Remplace les sacs plastique jetables et les films alimentaires.
✅ Polyvalent : Cuisson, conservation, transport, marinade, et même pasteurisation (eau bouillante).
✅ Hygiénique et sûr : 100 % silicone de qualité alimentaire, sans migration de produits chimiques (contrairement aux plastiques).
✅ Durable et économique : Réutilisable à l’infini, résistant aux déchirures et aux taches.
✅ Pratique : Léger, pliable et compact, avec une ouverture/fermeture intuitive (joint Pinch-Loc).
Dessins



Le système de réchaud toutes conditions le plus rapide et le plus économique au monde.
Brevet: US2025160558A1
Titre: COOKING POT WITH ROUNDED BOTTOM AND SUPPORT SHROUD
Demandeur: CASCADE DESIGNS INC
Objectif du brevet
Proposer un système de cuisson portable qui soit :
✅ Économique : Moins coûteux que les solutions actuelles (brûleurs radiants ou échangeurs de chaleur complexes).
✅ Léger et compact : Facile à transporter pour les routards ou campeurs.
✅ Polyvalent : Chauffage rapide et efficace de l’eau. Capacité à cuire à feu doux ou mijoter sans risque de points chauds ou d’extinction de la flamme.
✅ Sécurisé : Conçu pour éviter les perturbations de la combustion et les retours de flamme
Solution proposée
Un ensemble de cuisson comprenant :
- Un pot cylindrique (flancs verticaux, fond arrondi fermé, sommet ouvert).
- Un anneau de confinement cylindrique :
- Positionné autour du pot, créant un volume de confinement pour la flamme et l’air.
- Permet une circulation libre de la flamme et de l’air, optimisant la combustion.
- Maintenir le pot en position verticale et stable.
- Compatible avec un poêle portable standard, sans besoin de brûleur radiant ou d’échangeur de chaleur complexe.
Avantages clés
- Combustion optimisée : Meilleure répartition de la chaleur, sans points chauds.
- Cuisson polyvalente : Adapté aussi bien pour faire bouillir de l’eau que pour mijoter.
- Simplicité et coût réduit : Pas de pièces complexes ou de matériaux onéreux.
- Résistance au vent : Conception minimisant les risques d’extinction de la flamme.
Dessins
Vue en perspective et en vue de côté d’un pot de cuisson et d’un anneau de confinement comportant un collier isolé et une poignée:

Vue en perspective d’un système de cuisson pour chauffer le pot de cuisson:

Vue en perspective de dessus d’un poêle à fixations qui s’interfacent avec l’anneau de confinement, les montures ayant des jambes qui sont prolongées:

Produit commercialisé: Réchaud MSR Reactor 1.7L Stove System
Non seulement le système de réchaud Reactor est le réchaud le plus rapide et le plus économique en carburant jamais fabriqué, c’est aussi le seul à offrir un tel niveau de performance sous conditions réelles de froid et de vent. Tout simplement, vous consommerez moins de carburant, vous porterez moins de carburant.
- Système intégré : Le réchaud ultramoderne et la batterie de cuisine hautement efficace sont associés dans un système compact, complet et d’emploi facile.
- Vitesse d’ébullition inégalée : Plus performant que la concurrence lors des test complets en laboratoire (portant 0,5 l d’eau à ébullition en tout juste 1,5 minute) avec un avantage encore plus important sous conditions réelles.
- Protection contre le vent inégalée : l’échangeur thermique entoure complètement le brûleur à tête radiante, éliminant pratiquement les effets du vent pour des temps d’ébullition remarquables et des économies de carburant.
- Efficacité maximum : Le brûleur à tête radiante (en instance de brevet), l’échangeur thermique et le régulateur de pression interne produisent la meilleure efficacité de carburant de sa catégorie sous toutes conditions.
- Compact : Tous les systèmes sont autonomes, le réchaud et le carburant s’imbriquent à l’intérieur de la casserole.
- Système 1,7 L : Performance polyvalente avec la possibilité de faire bouillir de l’eau ou faire fondre de la neige rapidement pour deux personnes ou plus.
Mug Isotherme MSR Titan 375 mL
Le mug MSR en titane est une légende dans la sphère du bikepacking ultraléger. Il est conçu pour durer toute une vie et est livré avec des caractéristiques uniques, telles que la compatibilité précise de l’emboîtement, les manchons de poignée en silicone et les marques de graduation volumétriques.
Ne pèse que 116 g. Le titane est deux fois plus léger que l’acier et deux fois plus résistant que l’aluminium.

Gear of the year 2024 dans la catégorie « Best in Bikepacking Kitchen » avec la cuillère en titane qui ne pèse que 22 g:
Article de bikepacking.com: 2024 Bike Packing Award
Coussin gonflable Hyperlight air-core
Il ne pèse que 77g (à titre de comparaison, l’oreiller de trekking gonflable de FORCLAZ pèse 132g)
Il est réglable à n’importe quel niveau de fermeté désirée.

Article de bikepacking.com: 2024 Bike Packing Award






Laisser un commentaire